In this post I would like to discuss another concept of electromagnetic propulsion: a patent application [1] for an engine that, as we’ll see, is closer to PNN-E than EmDrive. The name on the patent is Harold Ellis Ensle. There is no information about him on the web, so I suppose he’s a private inventor.
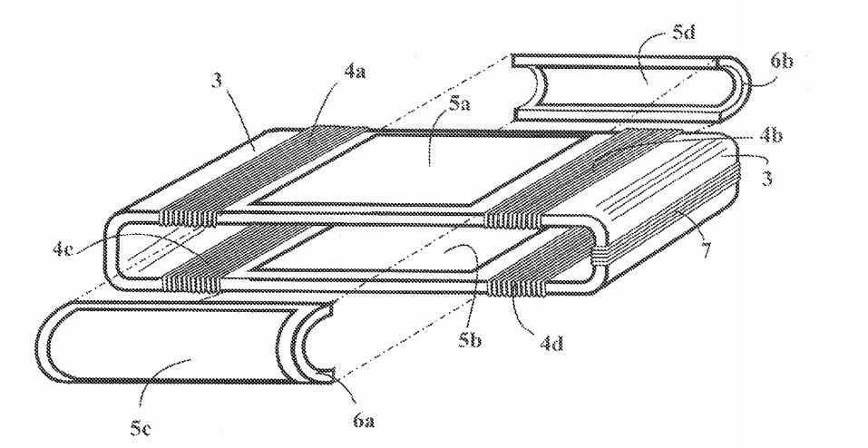
Fig 1. Ensle’s Engine
In my previous posts I’ve stated that ASPS’s PNN-E works using dipoles (older prototypes) and then capacitors (TDS-VF2). What I lacked was the comprehension (in good company with the rest of the world I’d dare to say) of how ASPS is able to obtain thrust from them. Thanks to this patent I think we can shed light to the very basic principle behind electromagnetic propulsion. However this is my humble interpretation, so your opinions are welcome.
First of all, it is important to know these brief electronics facts:
- A coil is a conductive wire wrapped around a ferromagnetic material that generates an electromagnetic field when the currents flows through the spires.
- A capacitor is an electrical component (basically a dipole) composed of two terminals that ends in plates that are separated from each other by dielectric material. When a tension is applied, the plates stores an electric charge. In this phase the circuit is close because it requires a certain amount of time for the current to flow and completely fill the plates. Once the capacitor is charged the current can’t flow anymore, so the circuit becomes open. This is what happens when the capacitor receives a direct current. Using alternate current instead, the capacitor charges and discharges continuously according to the verse of the current.
- When a charge particle is moving in presence of an electromagnetic field it will experiment a force perpendicular to its direction, as well as the particle conductor. This is called Lorentz force.
- The current induced in a circuit due to a change or a motion in a magnetic field is so directed as to oppose the change in flux and to exert a mechanical force opposing the motion. This is Lenz’s law.
Fig 2. Lorentz force left hand rule
I= current direction, B = magnetic field direction, F = Lorentz force direction
Let’s see now what happens when we put together in a circuit a coil and a capacitor and make them work in synchronous using alternate current of adequate frequency and voltage.
When the circuit is powered, the coil emits an electromagnetic field that wraps around the capacitor while the current flows through the plates. This means that the charge particles, and thus the plates, will be subjected to Lorentz force. As the plates are connected to engine chassis, the whole structure will receive a thrust in the direction of the force.
When the current starts flowing in the opposite verse the E.M field emitted by the coil changes its direction and the charge on the capacitor plates reverses. Since this inversion affects both B and I, the direction of Lorentz force is not affected. At the same time the changing electric field inside the capacitor creates a magnetic field that, according to Lenz’s law, induces an opposing force inside the coil. However, this force is not the same magnitude of that generated in the capacitor, thus the device is propelled in a single direction. In turn, the induced current inside the coil generates an opposing magnetic field but there are no free charge in the plates with which to react, thus this force is non-reactive. When the capacitor charges and discharges, due the high voltage and frequency involved, it emits massive dipole radiation, which represents a significant power loss that must be somehow contained.
The duo coil-capacitor represents the basic thruster unit of this engine.
To sum up the engine description in the patent[1], Ensle proposes an architecture of 4 basic units, mounted on a chassis, that work in synergy to optimize the system. As we can see in Fig.1 the capacitors 5a and 5b are subject to the magnetic fields generated by coils 4a, 4b, 4c and 4d, which are guided toward the plates by the toroid shape of the chassis. This coils configuration generates a quadrupole that strengthen the overall magnetic field.
Fig 3. Magnetic quadrupole
Additional capacitors 5c and 5d can be added but they’re not fundamental. A feedback coil 7 is provided to improve system performance. The capacitors 5a and 5b must work in phase opposition: this way the dipole radiation is canceled by interference, preventing the power loss. To avoid electric arches and corona discharge, Ensle suggest to soak the whole engine in mineral oil or other non-polar liquid. Personally, I think this solution could come handy to PNN-E.
I think that Ensle hasn’t actually built a working prototype but he has only patented the theory behind the basic thruster unit, which is the key to electromagnetic propulsion. Unfortunately for him he’s late because the working principle isn’t new at all: it was patented in 1998 by ASPS [2]! Even if the Association has little visibility worldwide, it is famous enough to be “inspirational” for other researchers. In the years 1999-2000 in fact, Japanese researchers published a couple of articles that were a copy of ASPS patent claims[3]. Coincidence? I don’t think so: in 2010 was the turn of Chinese, who, again, published the same working principle [4]. Now it is Enlse’s turn.. a third coincidence?
We can affirm that little by little researchers around the world are focusing their attention on this unexplored physics phenomenon as the awareness of its existence is spreading. Eventually one day they’ll take the right path to replicate PNN-E but then they’ll must face lots of practical and theoretical difficulties that ASPS has already overcome.
For this reason I believe it is important to keep in mind that ASPS started it all 23 years ago, ASPS patented the invention 17 years ago and ASPS again today is leading the research on electromagnetic propulsion.
[1] Harold Ellis Ensle’s patent: US20150022031A1
[2]ASPS’s patent: ITRM980250
[3] The whole story on ASPS’s webpage (in italian)
[4] A Novel Technology of Electric Propulsion – Xiaodong Liu , Yu Liang , Qichang Liang



Questo e’ simile:
Click to access ElecMagInertia.pdf
LikeLiked by 1 person