
In one of my first posts I translated an ASPS article regarding the physics and the equipment of an hypothetical PNN spaceship. One important piece of navigation system had to be a laser powerful enough to disgregate major debris before they impacted the ship hull. As we know, at incredibly high speed even the impact with a tiny pebble would mean the instant disintegration of the ship, so one must be sure that nothing hits it.
In that post I pointed out that Boeing created an airborne laser system capable of autonomously track down and disintegrate incoming missiles. A technology surprisingly similar to those hypothetical navigation lasers.
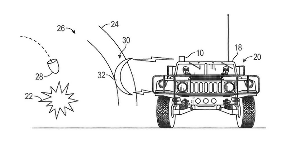
Recently I stumbled upon another Boeing “directly from science fiction” technology: a plasma force field powerful enough to absorb the energy of a shockwave from an explosion [1]. According to this article on Popular Science, the shield is designed to protect vehicles against bombs and missiles blast:
The concept uses a sensor to detect an explosion in water or air–say, an IED on the side of the road–then estimates the time and location of the explosion. Next, the signal from the sensor triggers a laser (or a blast of electricity or microwave energy) that heats up a section of air or water, creating a plasma shield in between the explosion and the vehicle. The plasma’s temperature and density help deflect and absorb the shockwaves from the explosion.
The article also indirectly states that the system is not a 360° shield but a directional one: a series of sensors detects the direction of the blast and aligns the shield to it. This might be because a complete shielding would require an huge amount of energy.

I think this would make a great addition to a spaceship. After all, the very same technology was born in science fiction to protect them! However there is a problem that must be solved first: the shield requires a medium to operate, like air or water, so this issue must be solved for space application. For example, I speculate, a spaceship could carry a gas and expel it from fore or aft (according to flight attitude), then the energy source would create plasma out of it. This would make a hot barrier where big debris are vaporized before they impact against the hull.
For the moment however the technology is just a patent and nothing has been realized yet.. it’ll take some time before we see a practical application.
Still, this article makes me positive about the future of space exploration. It’s like a “sign” because all pieces of the puzzle are going into their place: electromagnetic engine, navigation lasers, shields, our current knowledge about hulls and control systems.. We virtually have everything it takes to create a real spaceship: one just has to actually build it.
I know it may sound a bit like a delusional thinking but I’m optimistic for the future 🙂
Happy 2017 to all!
1: Patent abstract at Espacenet